第四夜 Zoom-NIKKOR Auto 43-86mm F3.5
小型化、低価格化で実用的な写りをめざした国産初の標準ズームレンズ
Zoom-NIKKOR Auto 43-86mm F3.5

第二夜では標準レンズ(「AI Nikkor 50mm F2」)を取り上げたので、今回は標準ズームレンズの元祖、「ヨンサンハチロク」(あるいは「よんさんぱーろく」)の愛称で親しまれた、「Zoom-NIKKOR Auto 43〜86mm F3.5」をとりあげてみよう。
大下孝一
1、国産初の標準ズーム

Nikon Fに装着したZoom-NIKKOR Auto 43~86mm F3.5

Zoom-NIKKOR Auto 43~86mm F3.5
昭和38(1963)年に発売されたこのレンズは、ニッコールレンズとしては「Auto NIKKOR Telephoto-Zoom 85~250mm F4~4.5」、「Auto NIKKOR Telephoto-Zoom 200~600mm F9.5~10.5」という二本の望遠ズームに続く三本目のズームレンズであり、同時に国産で初めての標準ズームレンズであった。
「国産で初めての」という但し書きがつくのは、博識な読者の方ならご存知の通り、1959年に独フォクトレンダー(Voigtlander)社のレンズシャッター一眼レフ「ベッサマチック(Bessamatic)」用の「Voigtlander-Zoomar 1:2.8 f=36mm....82mm」というズームレンズ(米ズーマー社のFrank G. BACKの設計した5群ズーム)が発売になっていたからである。
しかし、この「Voigtlander-Zoomar」は、“広角35mmを含むF2.8の大口径”という画期的なスペックを狙いすぎたためか、大きく重く、しかも性能も実用的なレベルとはいい難いものであった。それも無理はない。昭和34(1959)年といえば「Nikon F」発売の年であり、一眼レフ用の広角レンズでさえ設計が困難といわれていた時代である。世界初のズームレンズはまだまだ「特殊レンズ」であったのである。
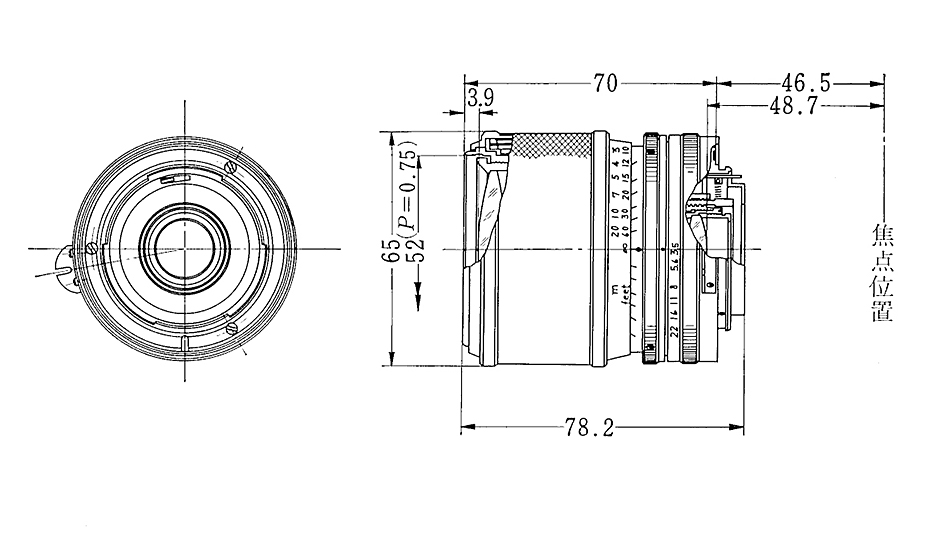
ところがこの「43~86mm」は、スペックこそ「Voigtlander-Zoomar」に一歩譲るものの、全長78.2mm、質量410g、アタッチメントサイズφ52mmという「NIKKOR-P Auto 105mm F2.5」望遠レンズ(全長72.7mm、質量375g、アタッチメントサイズφ52mm)とほとんど変わらぬ小型のズームレンズとしてデビューする。「Voigtlander-Zoomar」から4年の歳月があるとはいえ、特殊でない大きさの標準ズームレンズの登場は非常に画期的な出来事であった。
2、レンズ構成

図1.Zoom-NIKKOR Auto 43~86mm F3.5レンズ断面図
「Zoom-NIKKOR Auto 43~86mm F3.5」は、<図1.>のような7群9枚構成のレンズである。
設計者は樋口隆氏。氏は初期のニッコールズームレンズ開発を一手に担ったズームレンズの大家であり、本稿に登場する「8.5~25cm F4~4.5」、「200~600mm F9.5~10.5」、幻の「35~80mm F2.8~4」は、全て氏の設計によるものである。
元々このレンズは、「ニコレックスズーム35」という普及型レンズシャッター一眼レフカメラに搭載するために開発したレンズであった。そのため、出来るだけ小型に、そして安価なレンズとするためにレンズ枚数を極力少なくする配慮がなされている。
ズームの構成は、<図1.>のように、凸レンズの作用をする第1群と、凹レンズの作用をする第2群と、凸レンズの作用をする第3群からなる機械補正式の「3群ズーム」タイプで、第2群をフィルム面に対して固定し、第1群と第3群が異なる動きをしながら被写体側に前進することによってズーミングをおこなうしくみである。
この第1群と第3群に異なった動きをさせるためには“カム”といわれる部品が必要で、当時その高精度の加工が非常に大変であった。このレンズで第2群を固定しているのは、極力メカ構成を簡略化して小型化、低コスト化しようとする意図であろう。現在もこの3群ズームタイプは望遠ズームなどに用いられているが、多くのレンズは全ての群が移動するものに変わっている。高速の計算機などない時代、当時の設計者は今以上に多くの制約の中で設計していたのである。
3、レンズの描写
さてこのレンズの描写はどうであろう?
ズームレンズの場合、絞り値によってレンズ性能が異なるのはもちろん、焦点距離や撮影距離によっても変化するので、その描写を限られた紙面で述べることは単焦点レンズ以上に難しい。そこをあえて一言で表現するなら「実用的な写り」という言葉が適切であろうか?もともと小型化と低価格化を目指したレンズであるため、残念ながら性能がやや犠牲になっている面が見うけられる。実際、遠景写真や解像力チャートなどを絞り開放で撮影してみると、大きな周辺光量の低下や周辺の解像低下に驚かされる。しかし街中へ出て、少し絞り込んでスナップ撮影をしている分にはそれほど気にならない。巧みな収差補正のなせる技であろう。
<作例1.>は、焦点距離50mm付近で撮影したものであるが、ピントの合った近景のハスの葉はしっかり描写されており、かつ遠景は輪郭を保ちつつなだらかにボケている。これは補正しきれていないコマ収差がボケをなめらかにしているためである。収差も悪い面ばかりではない。ただし、歪曲(ディストーション)は気になる。広角側では樽型、望遠側で糸巻き型に大きく発生しており、直線物の撮影ではかなり目立つ。<作例1.>をあえて焦点距離50mmまで少しズーミングして撮影したのも、実は歪曲を目立たなくする意図があったのである。
<作例2.>は、焦点距離86mmで撮影したものである。このレンズは焦点距離50~70mm、撮影距離3メートル前後で最良の描写になるよう設計されており、ズーミングによって色収差とコマ収差が、またピント合わせによって非点収差が大きく変化する。この<作例2.>は望遠側最至近で撮影したため、良く見ると周辺で非点収差とコマ収差による像の流れが認められる。また肝心のピントの合った部分の描写も少し甘い。しかし、このようなシーンでは欠点はあまり目立たないものである。
<作例3.>では、リバースリング(リバースアダプター)の「BR-2Aリング」を介してレンズを逆向きに取り付けて撮影してみた。このレンズに限ったことではないが、標準ズームは「BR-2Aリング」を介してレンズを逆向きに取り付けると、等倍以上の拡大撮影が可能である。レンズの正規の使い方ではないのでマイクロニッコールレンズのような描写は期待できないが、ズーム操作によって撮影倍率を変化させることが出来るため、意外と便利に使える。
以上の作例のように、古いレンズであるがカラーバランスには問題はない。ただしマルチコートがなかった時代のレンズである。少し逆光気味になると、はなはだしいゴーストやフレアが発生することがある。フードは欠かさず装着したい。現行のフードでは「HN-3」が適合する。

Zoom Nikkor Auto43~86mm F3.5(7群9枚:1963年)

カラフルな“被写界深度目盛り”
このレンズは、当時競合他社を含めても安価で小型の唯一の標準ズームレンズだったこともあり、非常に良く売れたレンズである。その後このレンズは、11年後の昭和49(1974)年にマルチコート化され、昭和51(1976)年には周辺性能や周辺光量を改良した8群11枚構成の新光学系に生まれ変わり、さらに多くのユーザーの方々に愛用されている。そして昭和52(1977)年にAI方式の「AI Nikkor」としてモデルチェンジされ、実に「Nikon F3」や「Nikon EM」の時代まで生産され続けたのである。
確かに単焦点レンズや最新のズームレンズと比較すれば性能面でいささか見劣りのするレンズである。しかし、“標準ズームレンズ”というジャンルを作り出し、ズームレンズの利便性と楽しさを一般に知らしめた功績は高く評価されるべきであろう。また、うまく使えば今のレンズにはない味わい深い描写の得られるレンズであり、今なお実用価値は高いと感じる。鏡筒にひげ状に刻まれたカラフルな被写界深度目盛りが優美な、ニッコールの名レンズのひとつである。
幻の標準ズームレンズ「35~80mm F2.8~4」

Auto NIKKOR WIDE-ZOOM
1:2.8 f=3.5cm~1:4 f=8.5cm

Nikon Fに装着したオートニッコール
テレフォトズーム8.5cm F4~25cm F4.5
(樋口氏の設計)

Nikon Fに装着したオートニッコール
テレフォトズーム200mm F9.5~600mm F10.5(樋口氏の設計)
実は日本光学が標準ズームレンズを発表するのは「43~86mm」が初めてではない。昭和36(1961)年に反射望遠レンズ「Reflex-NIKKOR 500mm F5」などと共に「Auto NIKKOR WIDE-ZOOM 35~80mm F2.8~4」というズームレンズを発表している。このズームレンズは、現在標準・広角ズームレンズで一般的に使われている「凹凸2群ズーム」というタイプを世界で初めて採用した斬新な製品であった。
当時、樋口氏は、“標準ズーム”という新しいジャンルに対して、「43~86mm」の「3群ズーム」タイプ、「35~80mm」の「2群ズーム」タイプという全く異なったふたつのレンズタイプでアプローチしていたのであるところがこのレンズは発表こそされたものの、結局量産されることなく発売されなかった。
発表記事の掲載されている「写真工業」誌(写真工業出版社刊)1961年5月号によれば、「レンズ構成8群13枚、全長95mm、最大径90mm、質量1.1kg、アタッチメントサイズφ82mm」という巨大レンズであった。F値などこそ異なるが、最新の「AF Zoom-Nikkor 28~80mm F3.3~5.6G」(6群6枚(複合型非球面レンズ1枚含む)、全長72.5mm、最大径66.5mm、質量195g、アタッチメントサイズφ58mm)と比べるとその大きさと重さがおわかりいただけるだう。生産中止の理由の一端もこの大きさと重さにあったようである。
しかし、樋口氏のこの「2群ズーム」という画期的な発明はこれで終わってしまったわけではない。そのレンズタイプは、昭和52(1977)年発売の「AI Zoom-Nikkor 35~70mm F3.5」、そして現在の「AI AF Zoom-Nikkor 28~80mm F3.5~5.6D<New>」等へと脈々と受け継がれているのである。






