世界最大の画角への夢を実現
NIKKOR 13mm F5.6

第九夜は、一眼レフ用超広角レンズとして、世界初にして世界最大の画角を有したFマウント用交換レンズ、「NIKKOR 13mm F5.6」を取り上げます。
佐藤治夫

AI Nikkor 13mm F5.6
このレンズは、通常の射影方式における35mm(135)判一眼レフ用超広角レンズ中で、世界一の画角(2ω=118度)を持っています。この記録は21世紀を迎えた現在も塗り替えられていません。ここで、「13mm F5.6」の変遷を追ってみましょう。
「NIKKOR 13mm F5.6」の発売(受注生産開始)は、昭和51(1976)年3月のことでした。当初から当時の新しい外観デザインで多層膜コートを採用した自動絞りレンズ群、所謂(いわゆる)“ニュー(new)ニッコール”のひとつとして登場しました。また、近距離補正方式の採用で、無限遠から至近距離0.3メートルまでの撮影距離全域にわたってシャープな結像を得たため、「他に類を見ないほどの大画角を有し、かつ高性能なレンズだ!」と絶賛されたと伺っております。
そして、この「NIKKOR 13mm F5.6」は、昭和52(1977)年6月にAI(開放F値自動補正方式)化され、「AI Nikkor 13mm F5.6」として再登場します。更に、昭和57(1982)年3月に「AI Nikkor 13mm F5.6S」となりました。以降、販売終了まで基本設計は不変で、20年以上にもわたるロングセラーでした。
「NIKKOR 13mm F5.6」の光学系を設計したのは、当時の光学部第一光学課の森征雄(もり いくお)氏です。森氏は第一夜でご紹介した 脇本善司 氏の右腕的存在でした。森氏の設計したレンズは主に、F用の超広角ニッコール各種、PCニッコール、ブロニカ用ニッコール、大判用ニッコールレンズ、引伸ばし用エルニッコール......と、バラエティに富んでいます。私も最近まで一緒にお仕事をさせて頂きましたが、気さくで温和な方でした。また、森氏のレンズ設計に対する知識と洞察力の深さには目を瞠(みは)るものがありました。森氏の設計にまつわる逸話が伝わっていますので幾つかご紹介いたします。
ひとつめは、旧「EL-NIKKOR 50mm F2.8」(脇本氏が設計)(写真・図:左下)を改良し「EL-NIKKOR 50mm F2.8N」(写真・図:右下)を設計したときのエピソードです。森氏があまりにも見事に改良設計したので、あの名レンズ設計者脇本氏が「森君にはシャッポをぬぐよ(脱帽するよ)!」と言ったというお話です。


EL-NIKKOR 50mm F2.8


EL-NIKKOR 50mm F2.8N
もちろん、旧「EL-NIKKOR 50mm F2.8」も名レンズですし、脇本氏も苦労をして脇本タイプ(エルニッコールタイプ)を発明したのですが、いくら時代が違うからと言っても予想以上に改良設計してしまった森氏へは「まいりました」のひと言しかなかったようです。
また、ふたつめに、第五夜「AI Nikkor 105mm F2.5」で登場したニッコールオートの生みの親のひとり、清水義之氏は「あの超広角13mmは設計不可能だと思っていたよ。森さんは素晴らしい設計者だ」と述懐していました。そんな逸話の主の森氏も数年前に定年退職されてしまいました。日本の名設計者は一般に知られる事があまりありませんが、その足跡は光学設計報告書、開発履歴、ノート、パテント等によって辿(たど)ることができます。
「13mm F5.6」は、「Auto NIKKOR 15mm F5.6」(昭和48(1973)年)や「NIKKOR 18mm F4」(昭和50(1975)年)などをさらに広角化する目的で設計したのだろうと思われがちですが、実は違うのです。森氏は1970年より前から13mm、15mm、18mm の各焦点距離、F3.5~F8の各絞りといった条件を設定して、さまざまなスペックの超広角レンズを並行して設計していたのです。当時の森氏の光学設計報告書には、各レンズの独創的なレンズタイプが示されています(なんと、非球面を用いたものまで検討していました)。それらの中から、数回の試作を重ね「15mm F5.6」、「18mm F4」、「13mm F5.6」の順で商品化を決定したようです。
森氏の「13mm」の開発履歴を、より詳しく辿っていきましょう。当初は「13mm F8」というスペックで開発を進め、設計は昭和46(1971)年には完了し、同年3月に試作図面を出図しています。その後の詳細は不明ですが、「13mm F8」は商品化には至りませんでした。そして更なる設計改良をおこない、より明るい「13mm F5.6」を昭和48(1973)年に試作し、昭和52(1976)年3月には発売(受注生産)になりました。
また、森氏はこの超広角レンズの発明を昭和46(1971)年に特許出願し、米国特許(U.S. PAT.)を1973(昭和48)年に取得しています。この超広角レンズは、新しいレンズタイプの発明として認められたのです。当時はレンズ設計にやっと本格的なコンピュータが導入された時期ですが、現在のパソコンよりもはるかに劣る性能で、まだまだ膨大な演算時間がかかり、十分なシミュレーションは出来なかったことと思います。ニッコールレンズに対する森氏の功績の大きさは計り知れません。

図1.NIKKOR 13mm F5.6のレンズ断面図
少々難しいお話をしますがご容赦ください。
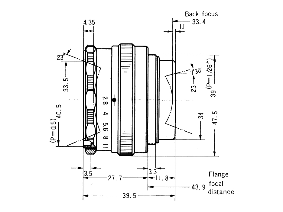
「NIKKOR 13mm F5.6」の断面図<図1.>をご覧ください。読者の皆さんは、まず巨大な前玉(レンズの最大径:φ115mm)と複雑なレンズ配置(12群16枚)に驚かれるだろうと思います。しかし、この複雑なレンズ光学系も、通常の一眼レフ用広角レンズと同じレトロフォーカスタイプを基本構成としています。
断面図に向かって、絞り(<図1.>では、矢印にて図示)よりも前方(左側)は、全体で凹レンズ(負の屈折力を有する群)になっています。そして、絞りよりも前方(右側)は、全体で凸レンズ(正の屈折力を有する群)になっています。絞りよりも後方のレンズ群は、いわゆるトリプレットおよびテッサータイプを発展させたマスターレンズです。そして、絞りよりも前方の凹レンズ群は、“像を縮小させるためのワイドコンバータ”と考えれば理解しやすいでしょう。
それでは、なぜ、こんなにも多くのレンズ枚数が必要なのでしょうか?実は、絞りより前方のレンズ枚数は、まさにマスターレンズの歪曲収差(ディストーション)を、その他の諸収差を悪化させる事なく補正するためにあるのです。対角線魚眼レンズ「Fisheye-Nikkor 16mm F2.8」などと比較すると一目瞭然ですが、超広角レンズの設計はある意味で「ディストーションとの戦い」と言うこともできるでしょう。
さて、「13mm F5.6」の収差的な特徴はなんでしょうか?この一眼レフ用交換レンズは、“焦点距離(13mm)の3倍以上のバックフォーカスを確保する”という極端なレトロフォーカスタイプのレンズ構成を採っています。一般に超広角レンズは特にディストーション、倍率の色収差、近距離収差変動などの補正に難点を持つことが常でした。しかし、「NIKKOR 13mm F5.6」は、極端に非対称なパワー配置のわりに、ディストーションが少なく、ごく周辺を除いて倍率の色収差が少ないという特徴を持っています。また、非点収差や像面湾曲も良好に補正され、日本光学工業~ニコン独自の近距離補正方式によって、レトロフォーカスタイプの泣き所のひとつである近距離収差変動も良好に抑えられています。
「NIKKOR 13mm F5.6」はどんな描写をするのでしょう?評価については個人的な主観によるものです。参考意見としてご覧ください。
作例写真をもとに各絞りごとの描写特性を述べたいと思います。開放(F5.6)においてはごく周辺部をのぞき、十分な解像力、コントラストを持っています。但し、さすがにここまで超広角になると、若干の周辺光量不足は否めません。しかしながら、レベルは高く、対称型の超広角レンズとは比較にならないほど光量は豊富です。
<作例1.>は、夜桜を撮ったものですが、十分なシャープネスを持っていることが分かります。また、光源の変形もなく、コマ収差によるサジタルコマフレアの少なさを実証しています。f/8~11においては、周辺光量と周辺部の性能向上が見られ、更にシャープネスが増します。
<作例2.>は、f/8で撮影したものです。ごく周辺まで十分な周辺光量を持っている事が分かります。f/16~22においては、画面全域でシャープネスが更に均質化しますが、回折の影響で解像力が若干低下する傾向にあります。
全体を通してみると、開放Fナンバーが5.6と比較的暗いということもあり、絞り開放からシャープな像を結び、十分な周辺光量も持ち備えています。したがって、絞り込みによるシャープネスの差が比較的少ないレンズです。絞り値の選択目的は、むしろ光量と深度のコントロールと考えた方が良いと思います。また、ゴーストは同クラスの超広角レンズとしては少ない方ですが、絞り羽根の形状のゴーストが幾つか発生します。ゴーストの発生は、ある意味で超広角レンズの宿命的なものでもあります。しかし、光源が画面内に無いときには若干構図を振ったり、ハレ切り(撮影時のテクニック:有害光のレンズへの入射を防ぐために、ファインダーでハレーションの有無を確認しながら、黒い板などの器具あるいは手などで遮る(カットする))によって、比較的容易に取り除くことができます。
設計者としての森さんの功績は、本文に書いたとおりです。
普段の森さんは痩せていて温和な顔立ちの風貌で、腰の低い方です。森さんは釣りが大好きで、我々もよく釣果のお零(こぼ)れに肖(あずか)りました。森さんはそんな後輩思いの頼りになる大先輩でした。しかし、森さんにはもうひとつの顔があったのです。実は、森さんは無類のお酒好き(酒豪?)でした。森さんのお酒にまつわるエピソードは沢山ありますが、今回はその中からひとつだけを紹介しましょう。毛利 元就ならぬ、「森さんの“三本の矢”」と言うお話です。
かなり前の話ですが、仲間内で飲んでいたときのことです。愛煙家でもある森さんは、お酒が入れば入るほど陽気になり、話好きになり、そしてお酒と共にタバコを吸うピッチが早くなります。飲む、吸う、飲む、吸う......。タバコに火を点けてひと吸いし、灰皿へ置きます。話に熱中してお酒をグイっと飲みます。そしてまた新しいタバコに火を点け、またお酒を飲む。またまた新しいタバコに火を点け......。とうとう灰皿には“三本の矢”ならぬ“三本のタバコ”が煙をあげています。四本めのタバコに手をかけた時、誰かが森さんに言いました。「森さん、三本も火の点いたタバコが並んでますよ!」すると、森さんは「しまった!」と言って、一本は口に、あとの二本は両手に持って、かわるがわる吸って見せました。一同は大爆笑!森さんは素晴らしく豪快でユーモアのセンスがある楽しい方でした。